巡检领域系统能力展示
随着信息技术在各领域的渗透,现代巡检工作已经配套完善的巡检大数据管理平台。云翼运维巡检解决方案,包含设备巡检管理系统和消防巡查系统,借助消防大数据、场所地图报表、巡查记录表单等一系列功能应用,为企业提供安全高效的巡检管理方式。经过项目实际检验,能够显著提高巡检工作的质量和效率。
设备巡检管理系统
及时掌握设备运行情况,发现设备缺陷和安全隐患,保证设备的安全。
1.设备信息多表单录入
借助云翼运维子表单功能可以同时录入或调阅与设备信息相关的多个表单内容,例如切换巡检方案表单可以确认巡检指标,减少检查纰漏。
![]() |
2.巡检设备地图
当需要跨区域进行设备巡检工作时,地图报表便于工作人员快速定位设备地址,寻址控件还能实现路线查看。
![]() |
3.扫码上传巡检设备信息
在移动端可以通过扫码录入巡检的设备信息,每台设备绑定唯一设备号,能够直接匹配设备初始信息,减少重复的录入工作。
![]() |
4.设备状态数字大屏
借助数据视图可以将设备的各项指标状态以不同的图表形式进行呈现,便于从宏观角度监测设备运转情况,及时进行设备维护。
![]() |
消防巡查系统
实现防火巡检和日常消防安全管理等工作的户籍化,标准化,痕迹化管理。
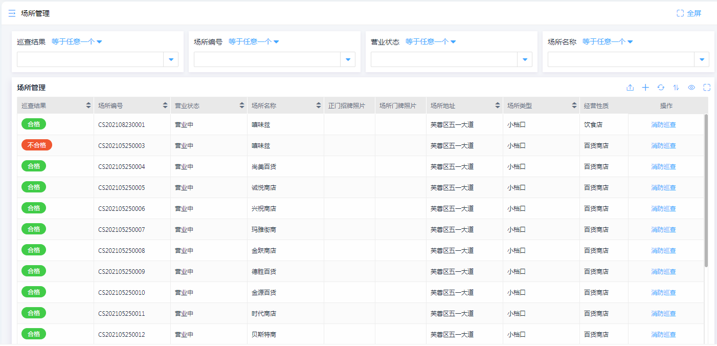
1.场所管理报表自定义查询
场所巡检结果通过报表的形式进行汇总后,可借助自定义字段进行筛选查询,例如可以快捷地筛选巡查结果为“不合格”的场所进行统一整顿,提高办事人员的效率。
![]() |
2.消防巡查自定义表单
表单强大的自定义功能,可以根据消防巡查各阶段要求,制作丰富的个性化统计表单。
![]() |
3.消防隐患举报外链填写
举报电子表单可以通过链接或者二维码的形式在各街道进行宣传推广,民众点击跳转链接或直接用微信扫一扫就可以进行举报。后台第一时间收到举报投诉可以快速进行处理。
![]() |
4.消防大数据看板
消防巡查的各项指标信息都可以汇总到数字大屏呈现,包括场所合格情况、隐患信息统计、网格人员工作情况等,可视化的数据呈现能够帮助巡查人员快速捕捉重要数据动态,及时安排巡查工作。
![]() |








